CT 400A

CT 400A

400 A Split-core current transformer for Shelly Pro 3EM-400

Device identification

  • Device name: CT 400A

  • Manufacturer model: CT315

Short description

CT 400A (The Device) is a split-core current transformer for the Shelly Pro 3EM-400 energy meter.

Features

  • Snap-on, screwless mounting system

Main application

Connector to Shelly Pro 3EM-400

  • 2-pin MX3.0-2x1Y connector

Specifications

Type

Value

Physical

Size (HxWxD):

84x54x48 ±0.5 mm / 3.31x2.13x1.89 ±0.02 in (without the cable)

Weight:

290 ±1 g / 10.23 ±0.05 oz (with the cable)

Conductor aperture:

Ø35 mm / 1.38 in

Core:

Ferite

Shell material:

Plastic

Color:

White

Environmental

Ambient temperature:

-10 °C to 50 °C / 14 °F to 122 °F

Humidity:

0 % to 80 % RH

Max. altitude:

2000 m / 6562 ft

Electrical

Primary/secondary current ration:

3000/1

Rated max. primary current:

400 A

Electrical strength:

3000 VAC, 60 sec

Installation

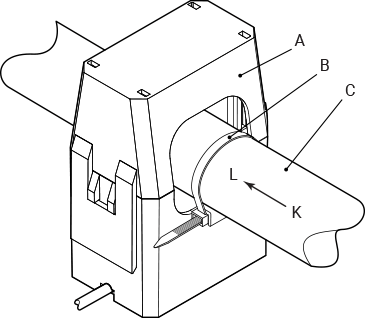
Legend

A

Shelly CT400A

B

Cable tie (another one on the opposite side)

C

Primary conductor

Compliance

  • Declaration of conformity